今天是:

当前位置:首页 > 财经

热搜第一!知名女演员戚薇直播间商品遭质疑是假货!

2022-08-23 13:55:08 来源:

  每日经济新闻

  近日,有网友在个人账号发文称,在戚薇直播间购买的产品经过多次鉴定结果是假货,随后戚薇工作室否认卖假货,戚薇本人也转发声明称 “ 我们一定重视并积极跟进此次事件 ”。

  8月22日,这一事件再次发酵,并登上微博热搜榜首位。

鉴定机构称商品图片为“不符合正品工艺”

  戚薇工作室:已报警

  8月20日,该网友再次发布视频,据悉,这位网友找到了一家名为“图灵鉴定”的科研鉴定机构,显示AI鉴别及5名资深鉴定师均判定用户上传图片为“不符合正品工艺”。这位网友表示:“若说平台监管失利,她(戚薇)便是第一责任人,因她品控不严……我提出要求问她可不可以发出道歉声明为自己行为负责,未果!我问打算以何种方式补偿,未果!”

该鉴定机构此前发布的鉴定声明,目前已删除

  8月22日,戚薇工作室发文称:已报警,一切等相关部门调查结果。抱歉又占用公共资源。

  戚薇则在微博上表示:相关事件我们仍然在取证中,是哪家鉴定机构给我提前盖棺定论的?可以跟我们和大家分享一下具体情况吗?

  而在事件发酵后,22日,图灵鉴定官方微博发表声明,强调作为AI科技鉴定机构,图灵鉴定检测技术符合《商品人工智能鉴定方法通用规范》,“我们再次声明:第一,图灵鉴定仅对该用户上传的商品图片鉴定结果负责;第二,图灵鉴定对该次事件本身(包括但不限于产品溯源问题)不做猜测和评判,不针对任何一方;第三,图灵鉴定反对并拒绝参与一切断章取义、信息拼凑等炒作行为!”

此前曾回应:假一赔十

  据极目新闻、中新文娱等,近日,网友@琉璃是什么璃 在社交平台反映称,2月12日通过戚薇直播间购买的科颜氏白泥面膜,在使用半年后经小伙伴提醒才发现“颜色不对”。这名网友表示“群里姐妹们的面膜都是水泥色,只有我是淡黄色”。

  随后该网友使用化妆品真假鉴定App鉴定后,发现自己通过戚薇直播间购买的这罐面膜被鉴定为“假货”。经过朋友推荐,其又更换其他地方鉴定,而结果依然为“假”。

  8月17日,戚薇工作室发布声明回应此事,称直播间推荐的所有产品均来自正规合法渠道。

  声明称,2022年2月12日,抖音平台用户“琉璃是什么璃”通过戚薇直播间下单购买了科颜氏品牌的亚马逊白泥面膜商品。跨境电商个人通关数据显示,相关订单编号项下的商品在南沙保税口岸申报进口,原产地及贸易地均为美国。

  该声明表示,戚薇直播间在商品推荐、销售及售后服务过程中均严格遵守相关法律法规的规定,满足抖音平台的全部要求。戚薇直播间推荐的所有产品均来自正规合法渠道,相关资质均已核验,且交易全程有据可查。并承诺若确认此次商品为假货,一定假一赔十,对产品质量及售后问题承担相应责任。工作室同时表示,不会容忍任何背离事实的指控。

  此外,戚薇工作室方面也表示,这名用户发布的信息“已经对戚薇女士的名誉权造成严重损害”,“戚薇女士已委托律师事务所处理,会通过法律方式追究相关侵权方的法律责任,维护自身的合法权益”。

  随后,戚薇本人转发工作室的声明,称:“我们一定重视并积极跟进此次事件 ”。

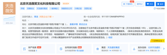
  声明落款显示为北京天浩薇笑文化科技有限公司。据启信宝显示,该公司成立于2022年,位于北京市,法定代表人及执行董事为周浩(天浩盛世CEO),经营范围含数字文化创意内容应用服务、文化娱乐经纪人服务、个人互联网直播服务等,由北京天浩盛世娱乐文化有限公司、张怡、戚晓萍、青岛天浩薇笑文化传媒合伙企业(有限合伙)共同持股。变更记录显示,戚薇曾担任该公司财务负责人并持股。

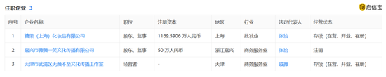
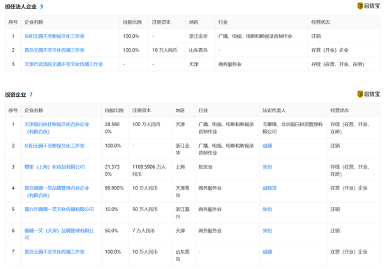
  启信宝显示,目前,戚薇共关联7家企业,涉及天津、上海、青岛等地,其担任4家企业法定代表人职务,其中东阳无薇不至影视文化工作室已于3月被注销,注销原因为决议解散,另外,戚薇在外任职企业共3家,目前存续2家。

免责声明:本文内容由用户注册发布,仅代表作者或来源网站个人观点,不构成任何投资建议,不代表本网站的观点和立场,与本网站无关。本网系信息发布平台,仅提供信息存储空间服务,其原创性以及文中陈述文字和内容未经本站证实,对本文以及其中全部或者部分内容、文字的真实性、完整性、及时性本网站不作任何保证或承诺,请读者仅作参考,并请自行核实相关内容。如因作品内容侵权需删除与其他问题需要同本网联系的,请尽快通过本网的邮箱或电话联系。

热点推荐

热门排行

本网内容均采集自网络,如有问题请将投诉发送到邮箱hyxs2020@qq.com我们会及时处理!

版权所有:四川法治民生网 备案信息:津ICP备2024019341号-5